Apple trabaja en un 'stylus' conductivo e "inteligente"

Patente stylus Apple
Apple
Europa Press Chance
Actualizado: viernes, 15 enero 2010 12:49

MADRID 15 Ene. (Portaltic/EP) -

iPhone ha destacado por su interfaz táctil que prescinde del 'stylus'. Actualmente todos los 'smartphones' apuestan también por los dedos para interactuar con el dispositivo y prescinden de un lápiz pero Apple parece querer recuperarlo ya que ha patentado un 'stylus' conductivo y capaz de registrar parámetros como la fuerza de presión.

La compañía de la manzana desterró el 'stylus' cuando hizo de su teléfono uno de los más populares y vendidos de todo el mundo. Hasta entonces PDAs y otros móviles táctiles contaban con un lápiz para interactuar pero el iPhone apostó por una pantalla conductiva que reacciona a los dedos y no a estos accesorios.

El propio Steve Jobs dejó clara la postura de Apple en este sentido en 2007, confiando en el potencial de las extremidades humanas para interactuar: "Todos hemos nacido con los dispositivos de punteo definitivos -nuestros dedos- e iPhone los usa para crear la interfaz más revolucionaria desde el ratón".

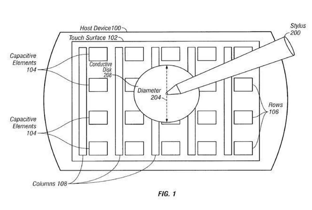
Pero las cosas podrían cambiar en futuros dispositivos, ya sea el muy rumoreado tablet, el también muy comentado iPhone 4G o el actual teléfono de la compañía. Según recogió Portaltic.es de Apple Insider, la empresa patentó en julio de 2008 un lápiz táctil conductivo -por lo que sería compatible con la actual pantalla del iPhone- con una "cobertura conductiva, metálica o de otro material, insertada en el extremo".

"El puntero tendría el tamaño suficiente para garantizar una interacción eléctrica suficiente con al menos un elemento sensorial del sensor táctil del panel", continúa la patente firmada por John G. Elias, un empleado de Apple y co-fundador de FingeWorks, una firma adquirida por Apple durante el desarrollo del iPhone original.

El dispositivo, además, incluirá otras opciones como la capacidad de reconocer la presión que ejerce el usuario o el ángulo en el que se encuentra, para potenciar las opciones de interacción con la pantalla.

Contenido patrocinado