Apple patenta un casco de realidad virtual para el iPhone

Patente casco realidad virtual Apple
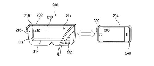
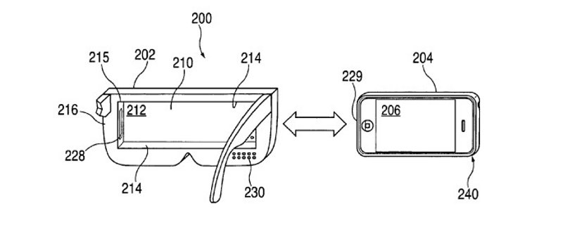
Foto: OFICINA DE PATENTES DE EE.UU. Ampliar foto

MADRID, 18 Feb. (Portaltic) -

   Apple prespara un nuevo dispositivo para entrar en un terreno de moda y que aún no había explorado: la realidad virtual. Esta semana la compañía ha patentado un casco que utilizará esta tecnología y que está diseñado para que se introduzca un teléfono como el iPhone en su interior, como ocurre con el Gear VR de Samsung. La patente fue registrada en 2008, pero no se les ha concedido a los de Cupertino hasta ayer.

   El documento registrado en la Oficina de Patentes de EE.UU., describe "un dispositivo que se pondrá en la cabeza y que llevará un terminal en su interior" que compartiría funciones con el casco. El producto de Apple no dista mucho de lo que ya ofrecen Google, con su Cardboard, o Samsung, con Gear VR.

   Este terminal que haría funcionar el casco podría ser, según el documento, un iPod o un iPhone que se introduciría por un lado directamente en la zona del visor. Como los iPods ya no forman parte del catálogo de Apple, si este dispositivo llega finalmente a los consumidores es más que probable que sólo sea compatible con los 'smartphones' de la compañía o, incluso, con algún modelo de iPad.

   La concesión de esta patente llega justo después de que Jony Ive, diseñador estrella de la tecnológica, explicara en una entrevista para The New Yorker que siempre pensó que las Google Glass no se colocaban en el lugar del cuerpo ideal para la comodidad del usuario, algo ciertamente contradictorio a la vista de este dispositivo.

Últimas noticias sobre estos temas

Contenido patrocinado