Apple patenta un flash simultáneo entre diferentes dispositivos iOS

Apple saca una patente de un sistema de conexión de flashes
Foto: APPLE Ampliar foto

MADRID, 17 May. (portaltic/EP) -

   La oficina de patentes de Estados Unidos (US Patent & Trademark Office) ha concedido una patente a Apple en la que detalla el sistema para conectar el flash de distintos dispositivos de iOS. Se trata de un sistema mediante el cual podemos conectar simultáneamente varios dispositivos para sus flashes se activen a la vez.

   Se trata de un sistema inteligente que permite que los flashes, una vez sincronizados, sean controlados remotamente. De esta forma, sería posible utilizar varios dispositivos para hacer que sus flashes se activen a la vez cuando se saque una fotografía desde uno de ellos.

   Esto permitiría dar mayor iluminación a un determinado objeto o acción cuando el entorno no ofrece la luz adecuada. A veces un sólo flash se queda corto y la foto sigue saliendo oscura igualmente principalmente debido a la distancia; con esta nueva función que patenta Apple, esto ya no sería un problema.

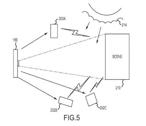
   Aún así todavía no es una realidad sino una patente que Apple ha obtenido en Estados Unidos. Lleva el nombre de "Sistema de iluminación" y describe a varios dispositivos móviles de Apple que interactúan entre sí. El dispositivo principal podrá controlar al resto a distancia, activando o desactivando las luces estroboscópicas LED.

   "El método incluye iniciar una relación maestro-esclavo entre el dispositivo de captura de imagen y al menos un dispositivo secundario. Una vez que se inicia la relación maestro-esclavo, activando remotamente uno de una al menos una fuente de luz de la al menos un dispositivo secundario", explica la patente.

FUNCIONAMIENTO

   El mecanismo se inicia cuando el dispositivo principal saca una imagen de prueba para saber cuáles son los requisitos de iluminación de la escena. Una vez realizada, envía al resto de dispositivos conectados una señal con la información sobre la intensidad, la posición y el momento en el que saltará el flash para que así tengan todo lo necesario para centrase en el mismo objetivo.

   "Se realiza la captura de una imagen de prueba de una escena iluminada por al menos una fuente de luz del dispositivo de captura de imagen. Entonces, se realiza el análisis de la imagen de prueba para determinar si la iluminación de la escena se debe ajustar y si así es, actúa proporcionando una señal de control para al menos un dispositivo secundario que incluye instrucciones de posición, un nivel de intensidad, o los datos de distribución", se detalla en la patente.

   El software también proporciona indicaciones a las personas que sostienen el dispositivo secundario: "una pantalla asociada al dispositivo principal puede mostrar texto para instruir a una persona que lo sostiene para que se mueva en una dirección, distancia o inclinación particular, haciendo que mueva el dispositivo de cierta manera y así sucesivamente".

   Para establecer la conexión entre dispositivos, la compañía de la manzana propone el Bluetooth y la red Wi-Fi, evitando así todo tipo de cables o sensores de infrarrojos. La interfaz para el Sistema de Iluminación sería la propia que ya posee la cámara iOS, pero se le incluirían nuevos botones para gestionar aspectos como la vista previa de la imagen de prueba y el control de la sincronización de los dispositivos.  

   Enlaces relacionados:

   - Patente de Apple.

Contenido patrocinado