Apple patenta un sistema para controlar Mac e iOS con los ojos

Apple patenta un sistema de control visual para Mac e iOS
Foto: APPLE Ampliar foto

MADRID, 20 Ene. (Portaltic) -

   Apple ya se ha cansado de Siri, de los controles remotos y de las pantallas táctiles. O al menos eso demuestran sus últimas patentes. Si la semana pasada los de Cupertino ya registraron un sistema de control mediante gestos, ahora van un paso más allá y pretenden que manejemos todos sus dispositivos con nuestros ojos.

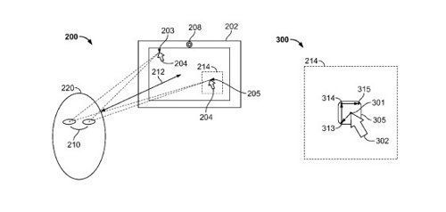
   En la patente de este sistema se describe cómo se seguirá el movimiento de nuestros ojos y se traducirá en comandos . También se incluyen maneras de contrarrestar los efectos que puede tener el estar constante y concienzudamente pendiente de una pantalla para manejar un dispositivo (como por ejemplo, que desaparezcan de nuestra vista por cansancio determinados iconos u otros elementos).

   El documento explica que los productos gobernados por MAC o iOS podrán usar las cámaras con las que vienen equipados de serie para registar el movimiento de ojos y transferirlo, por ejemplo, al cursor. También nos enseña cómo el cursor seguirá la mirada del usuario y ejecutará sus órdenes, pero no detalla cómo se darán estas.

   Al margen de lo futurista de este avance, el nuevo tipo de control favorecerá el acceso a las nuevas tecnologías de las personas que no puedan usar sus manos de una manera normal. Además, nos facilitará la multitarea pudiendo manejar otro dispositivo mientras tenemos las manos ocupadas.

   Eso sí, si finalmente este control se aplica a los productos de la firma de la manzana mordida, probablemente tarde mucho en desarrollarse de manera satisfactoria y aún más en llegar al consumidor final.

Últimas noticias sobre estos temas

Contenido patrocinado