Apple ha sido acusada de violar una patente relacionada con la cubierta del iPad

Ep
PATENTE BOVINO
Europa Press PortalTIC
Actualizado: martes, 1 mayo 2012 10:30

MADRID, 1 May. (Portaltic/EP) -

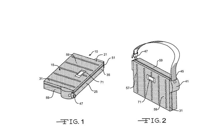
Un ciudadano estadounidense de Oregón ha demandado a Apple por infringir una patente relacionada con las fundas para iPad que se han usado para el nuevo iPad y el iPad 2. El demandante, Jerald Bovino, ha solicitado a los de Cupertino que le paguen una cierta cantidad de dinero por el uso de su tecnología. La patente fue emitida en 2005, seis años antes de que Apple presentase el iPad 2 y su cubierta.

La demanda ha sido interpuesta ante una corte en Colorado. Está basada en la patente número 6.977.809 y muestra una funda en la que se puede integrar un dispositivo, siendo muy útil para usar este dispositivo en situaciones fuera de casa.

La patente del demandante describe una cubierta para proteger el dispositivo que se enlaza a través de un imán, que tiene insertado y ayuda a cubrir la pantalla. La tapa de la cubierta para iPad también incluye estos imanes, en los laterales.

Otra de las similitudes que tiene el diseño de Apple con la patente es una serie de canales que en gran medida evitan daños físicos al dispositivo.

Apple está vendiendo esta cubierta por 39,95 dólares (30,17 euros). Se trata de una cantidad considerable gracias a la cual el gigante de la tecnología ha conseguido importantes beneficios. Por ello el demandante pide que se le paguen las regalías que le corresponden.

La famosa compañía de la manzana está acostumbrada a este tipo de demandas. En poco tiempo, han ganado otras demandas por violar patentes de Smart Cover iPad, iTunes Store & More, según han publicado en Patentlyapple.

Apple ha ganado la patente 8166508 sobre el iTunes Store, donde se presenta un sistema de alquiler de contenido, que incluye un almacén de datos para almacenar el contenido de alquiler.

Otro de los recientes triunfos de la empresa ha sido para Time Machin, una herramienta de copia de seguridad de software. También le han sido concedidas cuatro patentes de diseño de estructuras para transportar artículos (que todavía no se ha desarrollado), entre muchas otras.

Enlaces relacionados:

Demanda (http://es.scribd.com/doc/91519900/iPad-Cover-Lawsuit-Copy)

Patente (http://www.google.com/patents/US6977809)

Patentlyapple (http://www.patentlyapple.com/patently-apple/2012/04/apple-wi...)

Contenido patrocinado