Archivo - Apple Watch 6 y Apple Watch SE - APPLE - Archivo
MADRID, 13 Feb. (Portaltic/EP) -
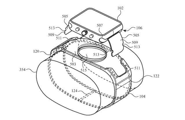
Apple ha presentado un sistema para sus relojes Apple Watch que permitiría extraer la esfera del reloj separándola de la correa de forma sencilla para poder realizar fotografías con una cámara integrada en el dispositivo.
La empresa liderada por Tim Cook ha ideado un sistema para incorporar la cámara en un reloj Apple Watch, que describe como un "reloj con un mecanismo de extracción" que se basa en separar el reloj de la correa para poder realizar fotografías con la propia esfera del dispositivo ponible.
Esta tecnología fue inscrita como idea en el año 2019. Ahora, la Oficina de Patentes de Estados Unidos ha reconocido la patente a Apple, con fecha del 7 de febrero de 2023, como se recoge en el texto de la patente.
El mecanismo consiste en una correa adaptada del Apple Watch que incluye un primer segmento de correa superpuesto a un segundo segmento de correa. Entre ambos segmentos hay una parte de "nido", una abertura que se extiende a través de todo el hueco y es donde se situaría la esfera del reloj.
Asimismo, el reloj incluiría una carcasa con la que se podría colocar la esfera en la parte del hueco y un sensor dispuesto dentro de la carcasa y "configurado para alinearse con la abertura de la correa". De forma que la esfera del Apple Watch quedaría colocada y sujeta a la correa.
Es decir, en lugar de que la correa que ancle en los extremos de la esfera del reloj, este elemento de 'hardware' se acoplaría en la parte superior de la correa, en un hueco específico para ello.

Por otra parte, la esfera del reloj tendría una cámara situada en la parte inferior. En este sentido, el usuario podría realizar fotografías extrayendo la esfera de la correa y utilizando el propio reloj como cámara. Tras ello, el usuario podría volver a colocar el reloj en la correa de forma "rápida".
Este sistema mostrado en la patente US11571048 B1 sería una innovación para los Apple Watch. Aunque ya existen otros productos para hacer fotografías con un 'smartwatch' como en el caso de Apple con Wristcam, que dispone de dos cámaras en la correa del reloj.
Por otra parte, no se trata de la primera idea de Apple para integrar una cámara en su reloj. La compañía ya ha contemplado otra propuesta para integrar una lente dentro o detrás de la apertura del dial de la corona digital (o en ambas localizaciones) para enfocar una escena.