Desvelada la patente del 'smartwatch' de Google

Patente smartwatch Google www.Europapress.Com/portaltic
USPTO
Europa Press PortalTIC
Actualizado: lunes, 6 mayo 2013 17:06

MADRID 6 May. (Portaltic/EP) -

La Oficina de Patentes de Estados Unidos (United States Patent and Trademark Office) ha publicado un documento confirmando los rumores del posible desarrollo de un reloj inteligente por parte de Google, entrando en competencia directa con los también rumoreados productos de LG, Samsung y Apple, el Pebble o el Smartwarch de Sony.

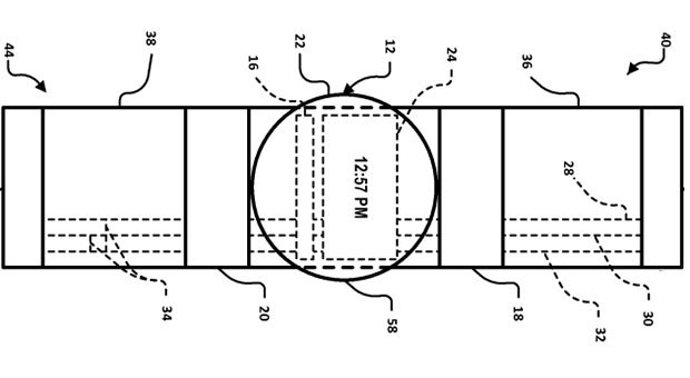
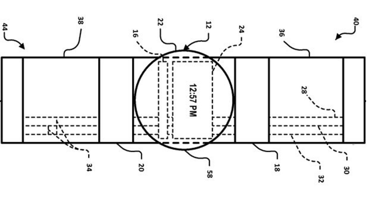
Los rumores acerca del posible lanzamiento de un 'smartwatch' diseñado por Google han sido confirmados con la publicación de la nueva patente a nombre del buscador. Pese a que puede que no coincida con el modelo final, la aparición de la patente muestra que el buscador mantiene interés en desarrollar su propio reloj inteligente.

En esta patente se puede apreciar como el dispositivo contará, de llegar a fabricarse, con dos paneles táctiles enfrentados en los que se podrán ver tanto las funciones del reloj como la interfaz de las diferentes aplicaciones. Además, estas pantallas también podrán acercar 'zoom' a través de una función de 'pellizco', 'estiramiento' y arrastre, permitiendo la navegación a través de la interfaz con el desplazamiento limitado de la imagen.

Estos paneles táctiles, según figura en la patente, puede que se encuentren a ambos lados de la cubierta en la que se mostrará la propia interfaz del dispositivo.

Además, contará con las especificaciones propias de esta gama de relojes como un transceptor inalámbrico, una pantalla y un procesador, aunque no se detallan las características requeridas para estos componentes.

Las tareas además, podrán ser complementadas por uno o más programas desarrollados a través de ordenadores u otros dispositivos aumentando las posibilidades de las tareas que pueda ejecutar el reloj sin necesidad de contar con un procesador de gama alta.

Pese a esta filtración, Google aún no ha confirmado si se mantiene trabajando en este dispositivo o si se trata de un proyecto aparcado.

Enlaces relacionados:

- USPTO (http://appft.uspto.gov/netacgi/nph-Parser?Sect1=PTO2&Sect2=H...)

Contenido patrocinado