Apple registra patente para un dispositivo electrónico de muñeca

Apple registra patente para un dispositivo electrónico de muñeca
Foto: USPTO Ampliar foto

MADRID, 22 Jul. (Portaltic/EP) -

   Apple ha publicado una patente en la Oficina de Patentes y Marcas de Estados Unidos (USPTO, por sus siglas en inglés) para un 'dispositivo electrónico de muñeca y los métodos para ello', que podría encajar con las especulaciones del rumoreado próximo 'smartwatch' de la compañía, el iWatch.

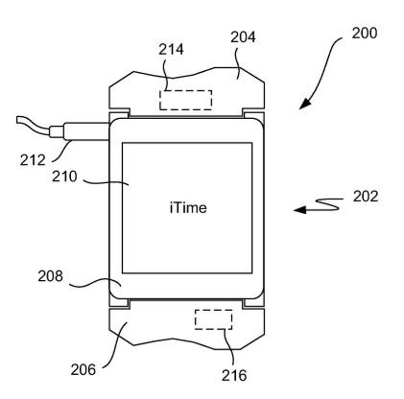
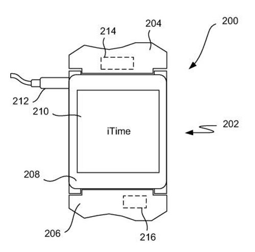
   Este dispositivo viene apodado como 'iTime' en una de las ilustraciones. Los principales puntos de esta patente son que el dispositivo se puede conectar con otros dispositivos como el iPhone o el iPad, ordenadores o incluso con las correas del reloj, que integra sensores y otros circuitos para aumentar el rendimiento del dispositivo.

   Apple ha denominado a este dispositivo como un 'entorno inalámbrico personal', algo que se refleja en algunas ilustraciones de la misma al ver que se puede conectar con otros dispositivos.

   A través de los protocolos de comunicación inalámbricas o con cables, el reloj puede conectar operativamente con un móvil o con un dispositivo conectado a Internet. De este modo, tal y como ha explicado un artículo de Apple Insider que ha analizado la patente, puede intercambiar información del reloj al iPhone o viceversa, de modo automático o con autorización del usuario.

   Los últimos rumores que se conocen sobre la posible fecha de lanzamiento del iWatch es que sería entre el tercer trimestre de 2014 y noviembre. Además, la semana pasada se filtró que este dispositivo podría venir en dos modelos distintos, uno de 1,6 y otro de 1,8 pulgadas, donde el segundo de estos tendría dos versiones distintas, con uno de ellos con una pantalla de zafiro.

Últimas noticias sobre estos temas

Contenido patrocinado