Una patente apunta que Apple planea cargar los iPhones e iPads con energía solar

Patente de Apple de paneles solares para recargar la batería
Foto: PATENTE APPLE Ampliar foto

MADRID, 21 May. (Portaltic/EP) -

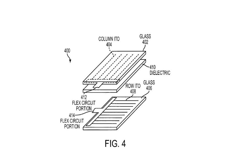
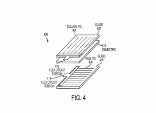
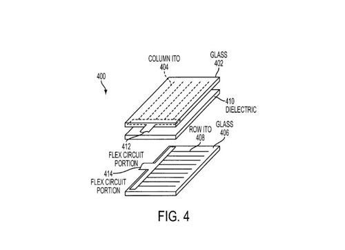
   La Oficina de Patentes y Marcas de Estados Unidos (USPTO, por sus siglas en inglés) ha concedido a Apple una ampliación de la patente relacionada con la integración de paneles solares en las pantallas de sus dispositivos, que ahora incluye las pantallas táctiles.

   La actualización de la patente recoge la integración de los paneles solares en las pantallas táctiles de sus dispositivos de mayor tamaño así como en las pantallas táctiles flexibles, es decir, para dispositivos como iPhone e iPad, cuando en febrero solo se contemplaba para iPod.

   La patente describe el nuevos sistema como un híbrido en el que sensores táctiles y paneles solares se integran en una sola pila y se instalan por debajo de la pantalla, de tal modo que no interfieren en el uso del dispositivo.

   Apple registró la patente de los paneles solares para recargar las baterías de sus dispositivos el pasado mes de febrero. Entonces, el diseño implicaba una batería más grande, pensada en principio solo para iPod.

   Enlace relacionado:

   - Patente 

Últimas noticias sobre estos temas

Contenido patrocinado