Disney quiere monitorizar los pasos de los visitantes en sus parques de atracciones

Patente
USPTO
Europa Press PortalTIC
Actualizado: viernes, 29 julio 2016 12:08

   MADRID, 29 Jul. (EDIZIONES/Portaltic) -

   Disney quiere que la experiencia en sus parques sea única y, para ello, pretende registrar cómo los visitantes se mueven por los lugares de interés, ayudando a minimizar las colas y las multitudes. Entre los planes de la compañía estaría realizar un seguimiento a través de los zapatos de los asistentes para saber dónde van o en qué atracciones suben.

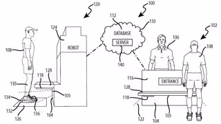
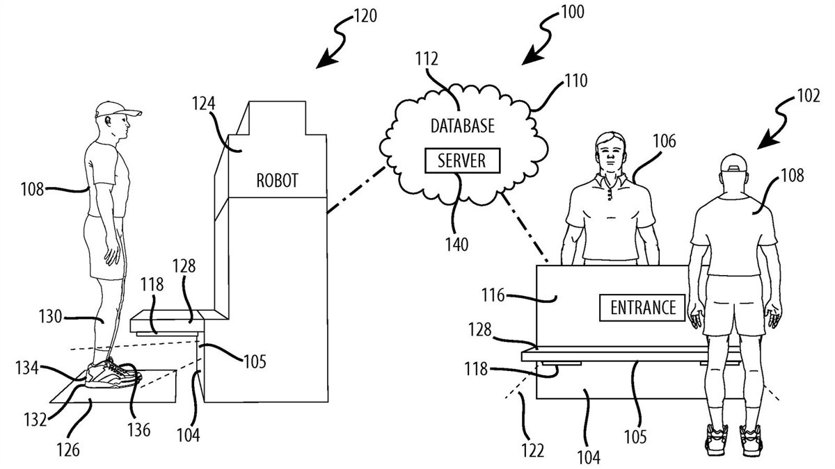
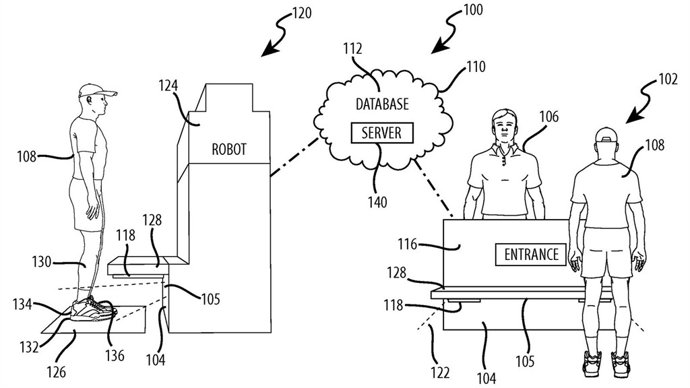
   Una patente registrada en 2015 por Disney mostraba la identificación y seguimiento de los asistentes al parque con el fin de proporcionar experiencias personalizadas para sus clientes. A través de cámaras y sensores, escanearía el calzado a la llegada y podría seguir a sus visitantes moviéndose por todo el terreno para ver qué atracciones, espectáculos o tiendas le llamaron la atención, según recoge Daily Mail.

   El método incluiría un sensor en el pie, que se coloca a la entrada cuando la gente entra al parque. Este recogería información sobre el individuo para que cada experiencia vivida en un parque Disney sea aún más única. En la patente no sólo se recoge el chip sino un robot que interactúa con los clientes y toma fotos de los pies de los huéspedes en secreto para poder conocer cómo se mueven por el parque.

   Sin embargo, no se sabe si Disney llevará a cabo esta tecnología o sólo se trata de una idea que derivará en otra, como ocurre en muchos casos con las patentes presentadas.

Últimas noticias sobre estos temas

Contenido patrocinado