Con tres lentes
Apple patenta un nuevo sensor curvo para la cámara del iPhone
MADRID, 26 Ene. (Portaltic) -
Apple ha registrado una nueva patente en la USPTO (Oficina de Patentes y Marcas de Estados Unidos) en la que habla de un sensor de cámara con lente curva que mejorará la calidad de las fotografías y, además, ocupará menos espacio al ser más pequeño que el sensor que incluyen ahora los iPhone, iPad y iPod.
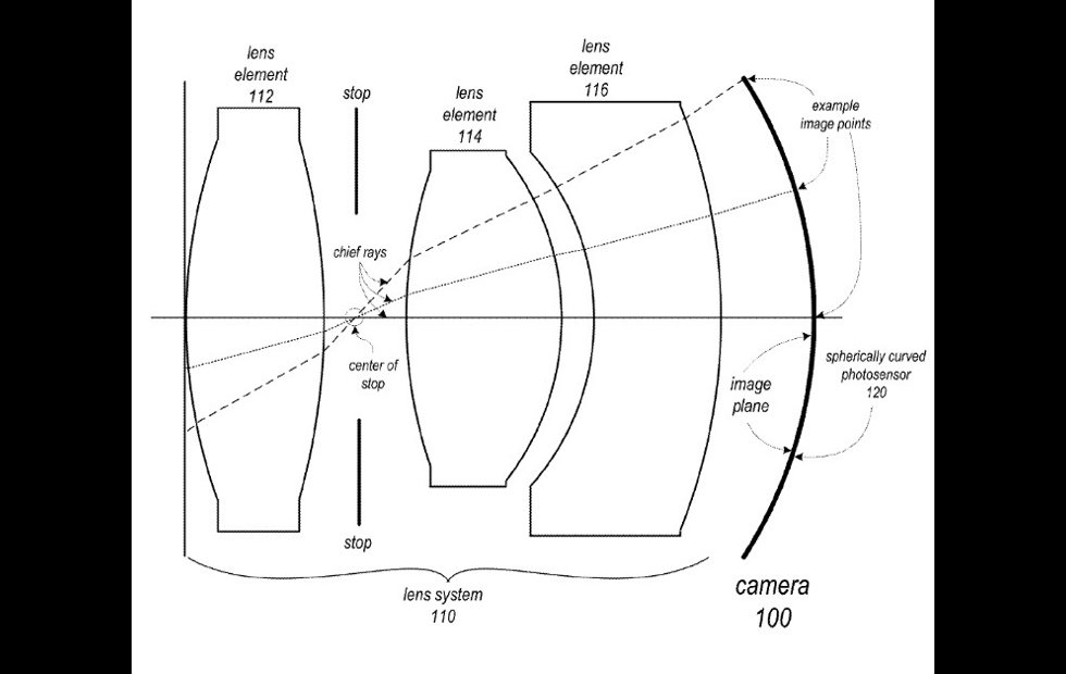
Bajo el resumen de “una cámara de reducido tamaño y alta resolución”, la curvatura del sensor se ha diseñado para que la luz del exterior entre con más facilidad. Para ello, además de con la lente exterior, cuenta con otras dos detrás, una convexa y una mixta al final de la cámara con un lado convexo y otro cóncavo.
“Una imagen se forma gracias al sistema de lentes en un plano de la imagen esférica curvada que coincide sustancialmente con la superficie cóncava del fotosensor. La cámara está limitada por difracción con un tamaño reducido, permitiendo que píxeles pequeños sean captados y utilizados por el sensor”, se puede leer en el resumen de la patente en la USPTO.

La distancia focal efectiva del sistema de lentes está en torno al 20 por ciento del radio de la curvatura del sensor. El número F, por su parte, puede llegar a ser menor de 1,8, un dato muy significativo. La cámara tiene un tamaño muy compacto con un grosor de unos 2 milímetros, lo cual permitiría a Apple reducir aún más el grosor de los dispositivos móviles.
Las tres “capas” de lentes, además, ayudan a corregir las distorsiones que se forman debido a su pequeño tamaño, pero aún así Apple tendrá que arreglarlas a través de software para que quede una imagen lo más nítida posible, según apuntan desde Appleinsider.
La patente fue registrada por primera vez en 2013, por lo que los de Cupertino llevan ya varios años trabajando para mejorar esta tecnología.
Se trata de una patente que podría acabar llegando a futuros iPhone, iPod o iPad – en el registro se puede leer que está destinada a dispositivos de tamaño reducido –, pero también podría llegar a quedarse en el olvido y no llegar a tener nunca una aplicación real.