Google revive las cámaras Polaroid

Patente de cámara de Google al estilo Polaroid
Foto: OFICINA DE PATENTES DE EE.UU. Ampliar foto

MADRID, 21 Ene. (Portaltic) -

   Parecía que las Polaroid habían perdido la batalla contra la era digital cuando tiraron la toalla y dejaron de fabricar película para sus cámaras allá por 2008. La empresa superó la bancarrota y ahora busca su sitio en el mundo de la fotografía. Mientras lo encuentra,  Google ha aprovechado la oportunidad y hará las delicias de todos los 'hipsters' presentando su propia cámara al estilo Polaroid.

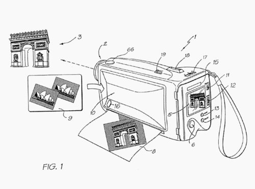
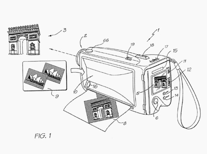
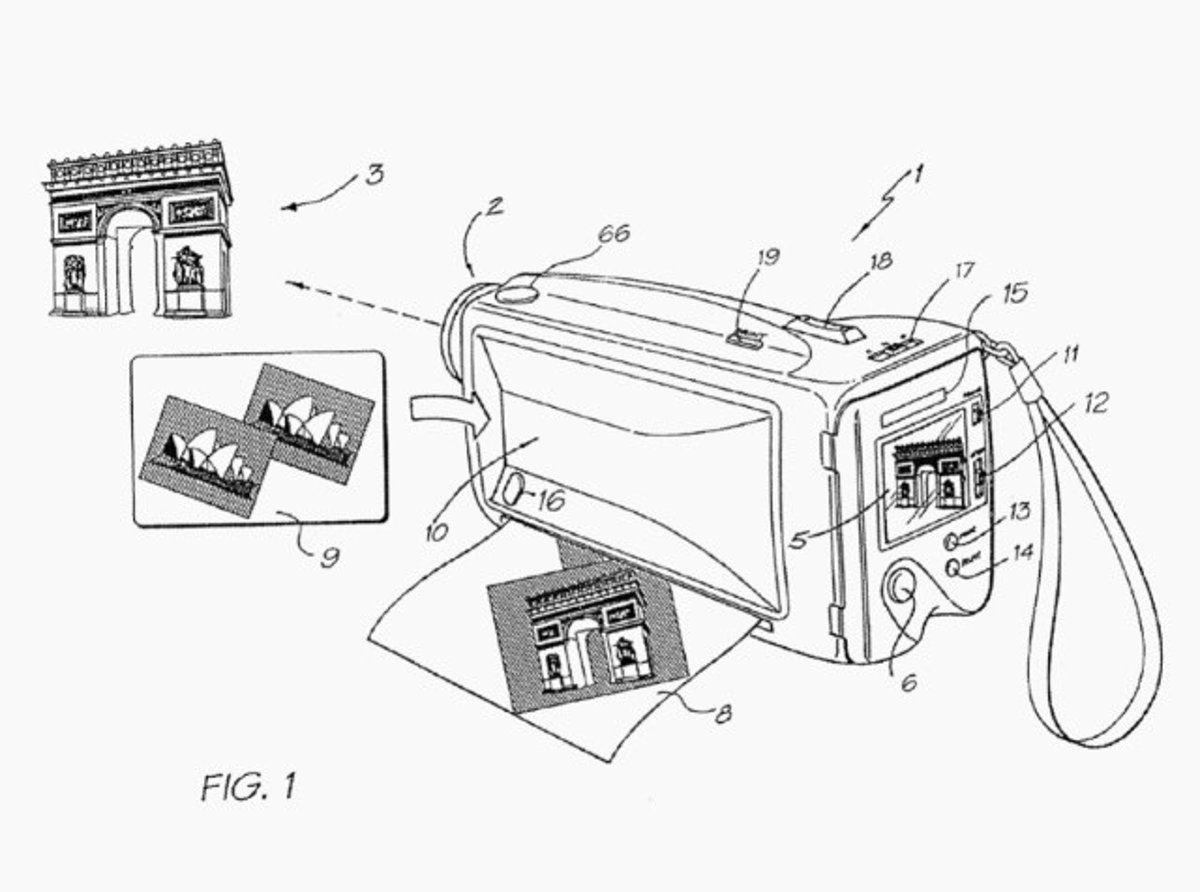
   Al gigante de los buscadores se le ha adjudicado hoy una patente que describe una cámara digital capaz de imprimir fotos por sí misma. Según las imágenes que ha proporcionado a la Oficina de Patentes de EE.UU., parece que la tecnológica está explorando la posibilidad de modernizar las funciones y el diseño de estas cámaras tan populares antes de la llegada de Facebook o Instagram.

   Al parecer, la cámara ofrecerá la opción de elegir el momento en el que queremos pasar nuestras instantáneas a papel (en las Polaroid la impresión era inmediata). Además,  será capaz de imprimir por las dos caras de la película e, incluso, se podrán obtener las típicas postales (eso sí, personalizadas) completamente listas para enviar por correo.

   Como siempre ocurre con estas patentes, no está aún claro que Google vaya a trasladar este prototipo del papel al mundo real, pero se trata de una propuesta más que interesante.

Últimas noticias sobre estos temas

Contenido patrocinado