Apple, una de las empresas punteras en el sector tecnológico, patenta una bolsa de papel

Apple
APPLE
Europa Press PortalTIC
Actualizado: martes, 20 septiembre 2016 12:50

   MADRID, 20 Sep. (EDIZIONES/Portaltic) -

   Apple no se conforma con revolucionar el mundo con sus avances tecnológicos o prescindiendo del puerto jack de auriculares en sus móviles, sino que ahora sale a la luz una nueva patente: una bolsa. Sí, habéis leido bien, una bolsa de papel que se entrega a los clientes de sus tiendas desde hace algunos meses en lugar de las bolsas de plástico. Apple ha hecho una descripción pormenorizada de la misma: más de 5.000 palabras para explicar su nuevo registro.

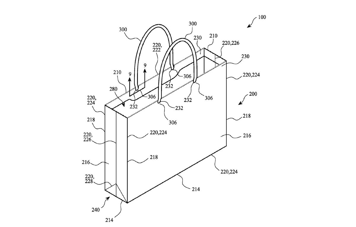
   Apple ya cuenta con su 'Bag' en la Oficina de Patentes. Se trata de una bosa fabricada con cartón sólido blanqueado de pasta al sulfato y más de la mitad (60%) de material reciclado, según explican en el documento de la patente.

El asa de la bolsa es de fibras de papel, tejidas formando un cordón flexible y grueso. “Se trata de una bolsa de papel que incluye un recipiente de bolsa formada por este material con un borde superior donde se ubica una muesca y un asa”, explican.

   La compañía utiliza estas bolsas desde inicios de año, según explica The Next Web, con el fin de apostar por el medioambiente, a través de materiales reciclados. La patente fue registrada el pasado mes de marzo y la Oficina de Patentes y Marcas de Estados Unidos la publicó la semana pasada con todo lujo de detalles.

Últimas noticias sobre estos temas

Contenido patrocinado