Apple patenta una tecnología de seguimiento de movimiento con cámara

Movimiento cámara
APPLE / USPTO
Europa Press PortalTIC
Actualizado: miércoles, 13 enero 2016 14:47

   MADRID, 13 Ene. (Portaltic) -

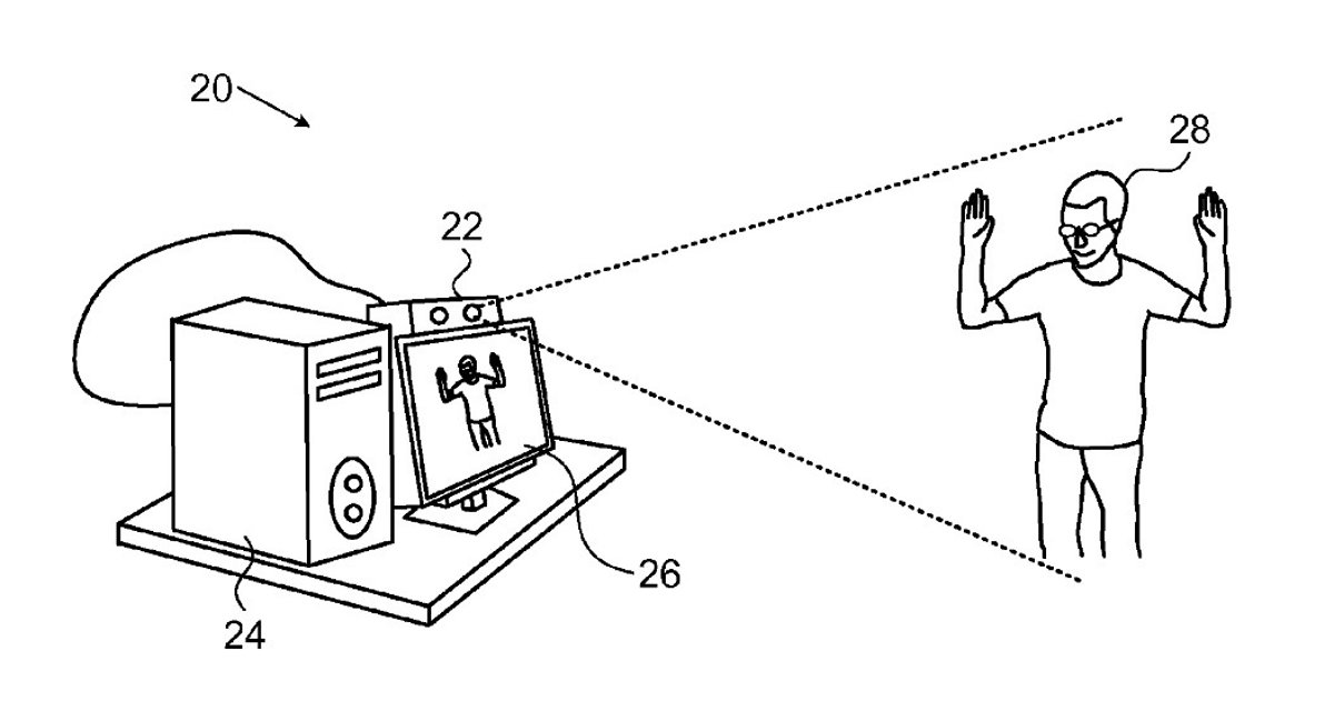
   Apple ha patentado un tipo de software basado en el seguimiento de movimiento corporal que se recoge a través de una cámara situada en un aparato del estilo al Kinect de Microsoft.

   El escrito, aceptado por la Oficina de Patentes y Marcas de Estados unidos este 12 de enero, fue rellenado por primera hace ya más de dos años, en septiembre de 2013. Básicamente, se trata de un método para “extraer esqueletos desde mapas 3D”, según se puede leer en el registro.

   La tecnología se describe como un “mapa en profundidad” que se dedica a recabar e interpretar información sobre la persona – una “forma humanoide con cabeza” - que se sitúa delante de la cámara, recogiendo, así, datos como la altura, las facciones o la forma de las distintas partes del cuerpo.

   El mapa se construye mediante una matriz de píxeles que poseen un valor en profundidad. Cuando el software tiene en su poder la información de cada uno de ellos, procede a analizarlos y a crear la imagen 3D resultante de su conjunto. El procesado lo que hace es que encuentra la localización exacta de la cabeza y estima las dimensiones de todas las formas del humano (brazos, piernas, tronco, etc.) para hacer un seguimiento de los movimientos secuenciales a través de esa estimación.

   “El mapa tiene la forma de una imagen en la que los valores de cada píxel indican información topográfica en lugar de brillo y/o color”, se puede leer en la descripción exhaustiva que proporciona la patente. De esta manera, el software es capaz de tener una mayor información de lo que está delante de la cámara, descifrando mejor su significado y asociando la totalidad de los datos registrados a una imagen o forma más exacta respecto a la realidad.

   Se trata de una patente, por lo que Apple no tendría por qué acabar implementándola en ningún dispositivo y/o sacándola al mercado. La compañía no ha dado oficialmente ninguna respuesta a la pregunta de para qué quiere utilizar la tecnología. Dado que se trata de un aparato estilo Kinect, algunos de sus enfoques podrían ser la realidad virtual o el mundo de los videojuegos.

Últimas noticias sobre estos temas

Contenido patrocinado