Apple patenta métodos para unir láminas de zafiro para pantallas

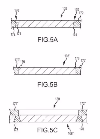
Imágen de la pantente de Apple para pantallas de zafiro
Foto: USPTO Ampliar foto

MADRID, 23 Ene. (Portaltic/EP) -

   La Oficina de Patentes y Registro de Estados Unidos (USPTO, en sus siglas en inglés) ha registrado una patente de Apple en la que se describen diversas formas de unir pantallas de cristal de zafiro a dispositivos electrónicos.

   Aunque las pantallas de cristal de zafiro ya están presentes en las pantallas del iPhone 5 y iPhone 5S, la multinacional de cofundada por Steve Jobs está investigando los posibles usos que pueda tener en futuros 'gadgets', sin especificar cuáles.

   En el documento se explican varios métodos para implementar láminas de cristal de zafiro junto con otros materiales como, por ejemplo, plástico o metal para fabricar cristales más resistentes que los 'Gorilla Glass' que incoroporan la mayoría de 'smartphones' hoy en día.

   La primera de las uniones descritas implica hacer unas hendiduras en una lámina de cristal de zafiro  para luego introducir en las muescas plástico o metal reforzados y usar estos puntos como unión al segundo material (que también podría ser plástico) y fabricar así pantallas más resistentes y duras que las actuales.

   El segundo método detallado es basante parecido al primero, pero utilizaría unos moldes de inyección o de soplado para unir el zafiro con un segundo material.

   El cristal de zafiro tiene una conductividad similar al de algunos metales y además es un buen dispersor de calor por lo que podría incorporarse a elementos sensibles como los procesadores, evitando así su sobrecalentamiento.

   En la patente no se describen usos concretos en los que podría utilizarse este nuevo material, pero uno de ellos podría ser la pantalla del esperado reloj inteligente de Apple, que hace poco se supo que había problemas con el material de la pantalla.

   El interés de Apple por el zafiro viene después de la inversión de 578 millones de dólares en la empresa GT Advanced Technologies para desarrollar elementos desarrollados con este nuevo material, llamado a sustituir al 'Gorilla Glass'.

   Enlaces relacionados:
   - USPTO
   - 'Nuevos retrasos en la fabricación del iWatch

Últimas noticias sobre estos temas

Contenido patrocinado