Apple trabaja en pantallas que integran carga por energía solar

Apple patenta pantallas que integran carga por energía solar
OFICINA DE PATENTES DE EEUU
Europa Press PortalTIC
Actualizado: viernes, 8 febrero 2013 13:47

MADRID 8 Feb. (Portaltic/EP) -

La oficina de Patentes de Estados Unidos ha publicado la solicitud de Apple para patentar unos paneles solares diseñados para los dispositivos iPhone, iPod o uPad. Lo más curioso es que esta patente incluye los paneles solares en la propia pantalla táctil

La patente data del 2008 lo que nos revela que la compañía lleva mucho tiempo investigando la manera de usar la energía solar en sus dispositivos móviles. Así el usuario podría cargar (o frenar la descarga) con mayor facilidad su dispositivo móvil no teniendo que depender de un enchufe y usando una energía más limpia.

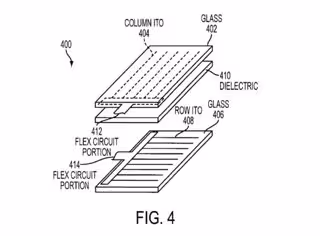
Se trata de un panel de célula solar integrado en el sensor táctil. Esto comprende un panel solar que capta la energía solar y circuitos de conmutación que responden tanto al contacto como a la recogida de energía. En otras palabras, la captación solar se hará por medio de la pantalla táctil del dispositivo.

Pero esta no es la única patente que la compañía de Cupertino ha pedido relacionada con la energía solar. En todo caso y como siempre, que Apple u otra compañía solicite una patente no significa que vaya a fabricar ese producto, y pueden pasar años antes de que algo así se comercialice bajo la marca de la manzana.

Enlaces relacionados:

- Patente (http://patft.uspto.gov/netacgi/nph-Parser?Sect1=PTO2&Sect2=H...).

Contenido patrocinado