Lenovo solicita una patente para sus propias Google Glass

Lenovo solicita una patente para hacer su versión de las Google Glass
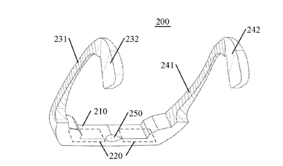
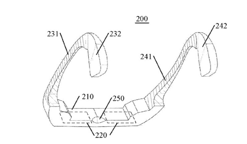
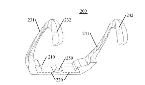
Foto: OFICINA DE PATENTES EE.UU. Ampliar foto

MADRID, 24 Jun. (Portaltic/EP) -

   Lenovo ha presentado una solicitud de patente de base para hacer su propia versión de las Google Glass ante la Oficina de Patentes y Marcas de Estados Unidos (USPTO), donde aparece publicada.

   La solicitud de patente de Lenovo para un "dispositivo electrónico y método de captura de sonido" se publicó en el sitio web oficial de patentes de EE.UU. el 12 de junio.

   Por lo que se puede ver en los dibujos que aparecen en los documentos publicados, el dispositivo es bastante simple. Tiene la forma de unas gafas -lo que nos recuerda a las Google Glass de Google- y, según la descripción que hace Lenovo, sería capaz de grabar audio y vídeo.

   Las gafas funcionarían a través de un sistema inalámbrico y a través de los cristales de las mismas se reproduciría tanto el sonido como las imágenes capturadas.

   Lenovo ha sido muy cuidadoso a la hora de describir el dispositivo, ya que no quiere verse envuelto en posibles demandas futuras. Se habla de un dispositivo para grabar pero en ningún caso se habla de 'wearable' (dispositivo ponible).

   Teniendo en cuenta que los 'wearables' llenarán el mercado de la electrónica en poco tiempo, y que muchos usuarios se apuntarán a esta moda, parece que ninguna empresa quiere dejar de ofrecer su propio producto y hacer negocio en este campo. Aunque patentar algo no quiere decir que el dispositivo vaya a ser un hecho, parece que a las Google Glass pronto podrían salirle competidores.

Últimas noticias sobre estos temas

Contenido patrocinado